BATTERY POWER MANAGEMENT APPARATUS AND METHOD FOR ELECTRIC VEHICLES AND/OR HYBRID VEHICLES,

  • Short Desription

    Abstract/Short Description of Invention

  • Problem Addressed

    Describe The Problem the Invention Addresses in Simple Terms

  • Solution to Solution

    The Invention Namely the Solution to the Problem

  • Prior Art Addressed

    Invention Addressed a Major Gap In Prior Art

  • Unique Features

    Unique Features of Product/Process/Service

  • Commercial & Market View

    Commercial and Market Potential

Overview:

This invention provides an advanced battery power management system specifically designed for electric and hybrid vehicles. It efficiently monitors battery levels and manages various charging methods to ensure the vehicle is always powered and ready for use.


Key Features:


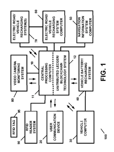
Central Processing Unit: A central computer that connects with all vehicle devices to perform real-time monitoring and control.


Multiple Charging Methods: Supports a range of recharging techniques including plug-in charging, wireless charging pads, and mobile recharging (via drones or service vehicles) to provide flexible and convenient energy access.


Enhanced Communication: Integrates with navigation systems that offer real-time data on nearby charging facilities and help guide the recharging process.


Blockchain Technology: Utilizes blockchain for secure and transparent transactions related to vehicle charging, ensuring reliable billing and data security.


System Integration: Connects with vehicle control systems, IoT devices, and RFID systems, which enhances overall energy management and simplifies maintenance.


Benefits:

This holistic solution improves vehicle performance, extends driving range, and simplifies maintenance, making electric and hybrid vehicles more efficient and user-friendly.


Feel free to ask if you need further details on any specific part!

The invention addresses several key challenges faced by electric and hybrid vehicles:


Limited Driving Range:

Electric vehicles often have a limited range due to the finite capacity of their batteries. When the battery charge becomes low, finding a suitable charging station in time can be difficult, especially during long trips. This invention helps by continuously monitoring the battery’s charge and guiding the vehicle to the nearest charging facility, thereby reducing the risk of being stranded.


Inconsistent Charging Infrastructure:

Even when charging stations exist, they may not always be conveniently located or accessible. The system identifies multiple charging options—including plug-in stations, wireless inductive chargers, and even mobile charging methods (such as drones or service vehicles)—to provide flexible and reliable ways to recharge the battery.


Battery Health and Safety:

Batteries in electric vehicles can overheat or degrade over time, affecting performance and safety. This invention continuously monitors the battery’s condition and manages the recharging process to avoid overheating and prolong the battery’s lifespan, ensuring that the vehicle operates safely and efficiently.


Integration of Multiple Technologies:

Today’s vehicles rely on numerous electronic systems that must work together seamlessly. The invention brings together advanced communication, navigation, and power management systems with blockchain technology. This integration enables secure transactions related to charging and allows data from various systems to be processed in real time, ensuring that all aspects of the vehicle’s power usage are optimized.


Efficient Energy Management:

Vehicles with complex power systems, including fuel cells and multiple charging modalities, need a smart way to decide which energy source to use and when. By using a central computer to manage all power inputs and recharging systems, the invention ensures that energy is used efficiently. This not only helps in extending the driving range but also minimizes downtime and maintenance issues.


In summary, this invention tackles the problems of limited range, variable charging availability, battery safety issues, and the complexity of integrating modern digital systems. By doing so, it creates a more reliable, efficient, and user-friendly system for managing the power needs of electric and hybrid vehicles.

Solution Provided by the Invention


This invention offers a comprehensive battery power management system designed to overcome the limitations of current electric and hybrid vehicle energy management. It integrates multiple advanced technologies to create a smart, efficient, and reliable solution.


Centralized Control and Real-Time Monitoring:

At the heart of the system is a central processing computer that continuously monitors the battery’s charge levels, temperature, and overall health. This real-time monitoring ensures that the system can detect when the battery is nearing depletion or at risk of overheating, thereby allowing timely intervention to maximize battery life and ensure safe operation.


Multi-Modal Recharging Options:

The invention supports various charging methods to address the issue of inconsistent charging infrastructure. It integrates standard plug-in charging stations, wireless inductive charging pads, and even mobile charging technologies like drones or service vehicles. This multi-modal approach offers flexibility; it not only guides the vehicle to stationary charging stations using navigation data but also provides immediate recharging solutions when traditional options are unavailable.


Advanced Communication and Navigation Integration:

Utilizing robust communication networks, the system connects the vehicle’s onboard computer with external navigation and information systems. This integration allows it to locate nearby charging stations or alternative recharging methods, provide real-time traffic and weather updates, and generate optimized travel routes that account for recharging needs. The seamless exchange of information between all components ensures that the vehicle is always aware of the best charging options along its route.


Blockchain for Secure Transactions and Data Management:

The invention incorporates blockchain and distributed ledger technologies to enhance security and transparency in recharging transactions. This ensures that energy credits, billing, and related data are managed securely, reducing potential errors or fraud. The blockchain integration supports reliable account management for users and facilitates automated billing for charging services.


Efficient Energy Distribution and System Integration:

The solution coordinates multiple energy sources within the vehicle, such as batteries and fuel cells. It intelligently manages energy distribution by determining the best source to draw from, thereby maximizing efficiency and extending the driving range. This coordination is further optimized by integrating cooling systems that maintain optimal operating temperatures for both the battery and any onboard computing components.


User-Friendly and Scalable Design:

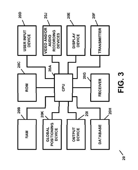
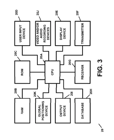
Designed with both the end user and service providers in mind, the system communicates with various devices—from user communication devices to RFID systems and video cameras—ensuring a user-friendly interface and smooth operation. Its scalable architecture means it can be adapted for different vehicle types and integrated into broader energy management networks.


In essence, the invention provides a holistic and intelligently managed energy solution that not only addresses the challenges of limited driving range and charging accessibility but also ensures battery safety and integrates emerging technologies like blockchain for secure, efficient operation.

Yes, the invention fills a significant gap in the prior art by providing an integrated, multi-modal battery power management solution that addresses the limitations of existing systems. Prior systems typically focused on isolated aspects of vehicle recharging—such as only plug-in charging or separate battery health monitoring—without a unified approach to managing the complete energy ecosystem. Here are the key gaps filled by the invention:


Comprehensive Integration:

Earlier technologies tended to operate in silos, handling either battery monitoring or a single charging method. In contrast, this invention integrates real-time battery monitoring, multiple charging modalities (plug-in, inductive, and mobile), and vehicle system controls into one centralized framework. This seamless integration ensures that different components communicate effectively, maximizing energy use and ensuring reliable vehicle operation.


Dynamic and Flexible Recharging Options:

Many prior art solutions assume that vehicles can rely on fixed, stationary charging infrastructure. This invention overcomes that by incorporating mobile charging options—such as drones or service vehicles—which can provide emergency recharging or supplement stationary options. This flexibility is crucial for long trips or in areas where conventional charging stations are sparse.


Enhanced Data Security and Transaction Management:

Previous systems have not addressed the need for secure, automated billing and account management in the energy recharging space. By integrating blockchain technology, the invention brings a robust and tamper-resistant method for managing charging transactions and user data. This gap has led to issues with trust and accountability in earlier systems, which the current invention mitigates through its secure, distributed ledger network.


Proactive Battery Health and Safety Management:

Many earlier approaches did not sufficiently address battery overheating and degradation—critical issues that affect vehicle safety and longevity. This invention includes a proactive monitoring system that continuously tracks battery temperature and overall condition, allowing for preventive measures and extending battery life.


Optimized Navigation and Energy Distribution:

Prior art often neglected the real-time integration of navigation systems with recharging infrastructure. The invention addresses this shortfall by connecting vehicle systems with external data sources, enabling optimal route planning based on available charging options. Moreover, it intelligently manages the distribution of energy among multiple sources (batteries, fuel cells), enhancing both performance and range.


Overall, this invention fills a major gap by consolidating diverse energy management technologies into a single, comprehensive system that not only optimizes the recharging process but also improves safety, security, and convenience for electric and hybrid vehicles.

Unique Features of the Product/Process/Service Integrated Battery Management: The invention offers a centralized control system that continuously monitors battery charge levels, temperature, and overall health. This allows proactive management of energy resources and ensures that the battery is maintained within optimal operating conditions. Multi-Modal Recharging Options: Unlike prior solutions, this system supports diverse charging methods including traditional plug-in charging, wireless inductive charging (using coils embedded in roadways or pads), and mobile charging options (via drones or service vehicles). This flexibility ensures that vehicles have access to charging even in areas with limited infrastructure. Blockchain Integration for Security: A standout feature is the incorporation of blockchain technology, which provides secure, transparent, and tamper-proof management of charging transactions. This not only enhances user trust through secure account and billing operations but also streamlines data sharing among all components of the system. Advanced Communication and Navigation Systems: The system is designed to communicate seamlessly with external navigation and real-time information platforms. This integration helps in dynamically locating nearby charging facilities and optimizing travel routes based on the vehicle’s current state and charging needs. Comprehensive System Connectivity: The invention connects multiple subsystems, such as vehicle computers, user communication devices, RFID and video monitoring systems, ensuring bi-directional data exchange. This interconnected network provides robust control over the vehicle’s energy management, allowing for real-time decision-making and efficient operation. These unique aspects distinguish the invention by providing a holistic, secure, and flexible solution to manage and recharge batteries in electric and hybrid vehicles efficiently.

Industries where the invention can be useful?

Automotive Technology / Electric Vehicles, Hybrid Vehicle Technologies , Battery Technology and Energy Storage, Recharging and Charging Infrastructure, Power Management Systems, Renewable Energy and Green Technologies, Communication and Control Systems for Vehicles, Internet of Things (IoT) and Vehicle Networking, Blockchain and Distributed Ledger Applications, Cooling Systems for Electronic Devices and Power Systems,

An estimate of the total addressable market?

Battery Management Systems Market: Estimated global market size exceeds $10 billion in upcoming years. Encompasses industries like automotive, industrial, and consumer electronics. Electric and Hybrid Vehicle Market: Overall market projected to reach over $800 billion by mid-2020s. Battery power management is a key component in EV/hybrid vehicle infrastructure. Integrated Solution Opportunity: Unique features (multi-modal recharging, advanced communications, blockchain security) position the invention to capture a significant portion of both markets. Overall potential spans the tens of billions of dollars, reflecting the high value placed on enhanced vehicle performance and energy management in the transition to clean, connected transportation.

Potential Customers/End Users. Who might benefit?

Automotive Manufacturers: Electric vehicle (EV) and hybrid vehicle producers looking to integrate advanced energy management systems for improved performance and safety. Fleet Operators and Transport Companies: Businesses managing fleets of electric or hybrid vehicles that need to optimize charging operations, reduce downtime, and monitor battery health across multiple vehicles. Individual Electric Vehicle Owners: Consumers seeking reliable, user-friendly solutions for real-time battery monitoring, flexible charging options, and secure, transparent transactions. Charging Infrastructure Providers: Companies building, operating, or servicing charging stations who can leverage the invention to enhance functionality and reliability of their offerings. Energy Management and Smart Mobility Solution Providers: Enterprises focused on integrated energy and transportation solutions that require seamless communication among vehicles, users, and recharging facilities.
Estimated Valuation $100.00
Raymond
Raymond
0 Deals In Queue
Estimated Valuation $100.00
N/A
( 0 Reviews )
Application Number
202414063134
Patent Number
N/A
Applicant
JOAO Raymond Anthony
Country
India
Industry
Automotive and Transportation
Patent Type
Single Patent
Available For
Sale&License

Actions

Complete Specification

Added all portfolio

Country Current Status Patent Application Number Patent Number Applicant / Current Assignee Name Title Google Patent Link
India Continue 202414063134 N/A JOAO Raymond Anthony BATTERY POWER MANAGEMENT APPARATUS AND METHOD FOR ELECTRIC VEHICLES AND/OR HYBRID VEHICLES Google patent link
You May Also Llike

You may also like the following patent