System and Method for Deleting or Editing Sent Messages from Your Recipients Chat History

  • Short Desription

    Abstract/Short Description of Invention

  • Problem Addressed

    Describe The Problem the Invention Addresses in Simple Terms

  • Solution to Solution

    The Invention Namely the Solution to the Problem

  • Prior Art Addressed

    Invention Addressed a Major Gap In Prior Art

  • Unique Features

    Unique Features of Product/Process/Service

  • Commercial & Market View

    Commercial and Market Potential

This invention lets you change or remove a message—even after it’s been sent—in a simple way. Imagine you're chatting and accidentally send a message with a mistake, or later decide you no longer want that message to be seen. This system gives you the ability to either delete the message or edit it, and it works on both your device and the recipient’s device. It communicates with a central server that checks if the message has already been delivered and then instructs the necessary devices to update or remove the message from the chat history. Essentially, it puts you in full control of your messages, regardless of when they were sent, without any time restrictions.

The invention addresses a common problem many of us experience while messaging. Once a message is sent, you might realize it contains a mistake, is addressed to the wrong person, or includes content you no longer want to share. Most existing messaging apps offer only limited options for handling such cases. For example, some apps let you delete a message but only within a short time window (like 24 hours), and even then, the recipient might still see an indication that a message was deleted.


This invention solves these issues by allowing users to delete or even edit a sent message at any time, without any time limit. The key problems it addresses are:


• Limited Control: In current systems, once a message is sent, you have little to no control over it. If you need to fix a typo or remove sensitive information after the message is delivered, the options are very restricted.


• Privacy Concerns: Sometimes a message might include information that you later decide you want to keep private. Conventional methods leave behind a "message deleted" notice, which still informs the recipient that a message was sent originally.


• Irreversible Mistakes: Mistakes happen. Whether it's sending the wrong message or sharing the wrong information, the inability to fully erase or modify the message can lead to misunderstandings or even privacy issues.


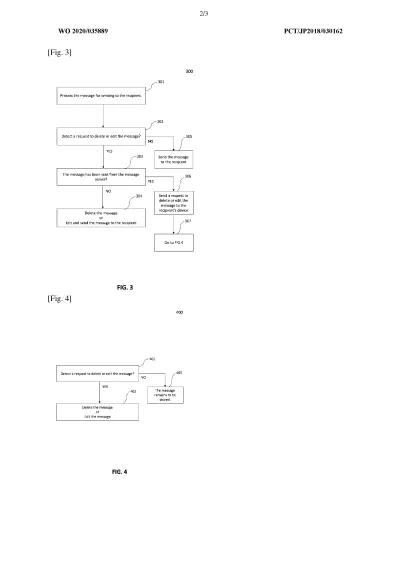
This invention uses a system that communicates with both the sender’s and the recipient’s devices, as well as a central message server, to check if the message has been sent. If it hasn't, the sender can cancel the message before it even goes out. If it has been sent, the system can then work to remove it or alter it on the recipient’s device. This gives the sender complete control over their message, ensuring that if a mistake is made or circumstances change, they can correct it immediately.


In simple terms, it’s like having the ability to take back or change your words after they've been spoken, ensuring that you remain in control of your communication at all times.

The invention provides an all-in-one solution that gives you complete control over your sent messages, whether you notice a mistake before or after they’re delivered. Here’s how it works:


When you're about to send a message, the messaging app on your device prepares the message, but it also watches for any signal that you might want to change your mind. If you decide to cancel, delete, or edit the message before it’s fully sent, your device simply stops the message from going out at all. This prevents any error from ever reaching the recipient.


Here is the invention's solution outlined point by point:


• Real-Time Decision Making:


The messaging app monitors your action while you send a message.


If you change your mind before the message is sent, it stops the process immediately.


• Message Processing with Unique Identification:


Each message is assigned a unique identifier when being processed, allowing precise control if a change is needed later.


• Delayed Request Handling:


If you request deletion or editing after the message leaves your device, your request is sent to a central message server along with the message identifier.


• Status Check by the Message Server:


The server checks whether the message has been sent and delivered to the recipient’s device.


• Action Based on Delivery Status:


Not Yet Delivered:


If the message is still pending, it can be canceled immediately before reaching the recipient.


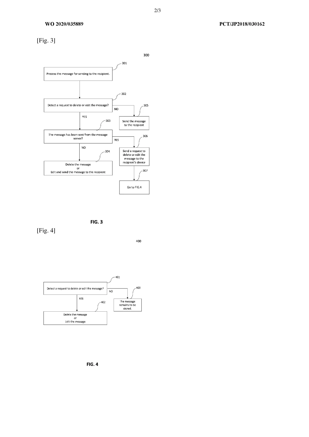
Already Delivered:


If the message has reached the recipient, the server instructs the recipient's device to delete or edit the message.


• Synchronized Updates:


Both sender and recipient devices can be updated simultaneously through commands from the server, ensuring that the message is effectively removed or modified on both ends.


• Confirmation of Action:


The recipient's device can send back a notification confirming that the deletion or edit has been executed, providing assurance to the sender.


• No Time Limit Restriction:


Unlike other systems, there is no time limit imposed for when you can delete or edit a message.


You have ongoing control over your messages regardless of when they were sent.


This solution ensures that you maintain control over your messages from creation to post-delivery, offering a more flexible and user-centric approach to managing digital communications.

Yes, the invention addresses a significant gap in the prior art. Below is a concise description of this gap:


• Limited Post-Sending Options:

Prior messaging systems typically allowed deletion of a sent message only within a short time window (for example, 24 hours) and usually did not permit any editing after a message was delivered. This left users with very few post-sending options if they wanted to correct errors, remove sensitive information, or adjust content after the initial transmission.


• Residual Notification Issue:

Even when deletion was possible, many systems would leave behind a placeholder (like "This message was deleted") in the chat history. This not only informs the recipient that a message was once sent but also could inadvertently raise questions or concerns about the content that was removed.


• Lack of Comprehensive Control:

The limited functionality in existing systems meant that users did not have full control over their communications after sending. They could not edit a message to correct typographical errors or update content, nor could they efficiently eliminate any trace of a message once sent. This limitation diminished the privacy and flexibility desired by users.


How the Invention Bridges the Gap:


• It introduces a method for both deleting and editing messages after they have been sent, and crucially, does so without any time restrictions.

• The system ensures that if a message is sent, appropriate commands can be sent from a central server to both the sender’s and the recipient’s devices, effectively updating or removing the message entirely.

• This means users maintain full control over their messages regardless of when they decide to make a change, thereby enhancing communication privacy and accuracy.


Overall, by providing a solution that allows for complete post-sending message control, including both deletion and editing, the invention remedies the deficiencies found in the previous state of the art.

Here are the unique and distinctive aspects of the invention: • Total Message Control: Users can delete or edit a message regardless of when the request is made, without being restricted by a time limit. • Dual-Stage Handling: If the message hasn’t been fully transmitted, the process stops the message from being sent at all. If the message has been sent, a controlled process coordinates with both the sender’s and recipient’s devices to delete or modify the message. • Centralized Coordination via a Server: A central message server plays a key role by checking the status of the message (whether it has been delivered) and sending commands to update or remove the message from the recipient’s device. • Synchronized Updates: The system ensures that any change made (deletion or editing) is reflected on both sides of the conversation, providing a seamless and consistent communication experience. • Unique Identification of Messages: Each message is given a unique identifier that allows precise targeting for deletion or editing, which minimizes errors and enhances reliability. These features collectively provide a significant improvement over conventional messaging systems by ensuring that senders have real control over the content they share, even after the message is delivered.

Industries where the invention can be useful?

Messaging Applications, Social Networking Platforms, Enterprise Communication Tools, Customer Service and Support, Online Education, Financial Services, Legal and Governmental Communications, E-commerce and Online Markets, Dating and Social Interaction Platforms,

Potential Customers/End Users. Who might benefit?

Below are some potential customers and end users who might benefit from this invention: • Messaging App Providers: Companies that develop and maintain messaging platforms (e.g., WhatsApp, Telegram, Signal, Facebook Messenger) can integrate this feature to improve user experience and privacy. • Social Networking Platforms: Social networks with integrated messaging services (e.g., Facebook, Instagram, Twitter) stand to enhance their communication tools by offering users control over their messages. • Enterprise Communication Solutions: Providers of enterprise collaboration tools (e.g., Slack, Microsoft Teams, Zoom Chat) can use the invention to help organizations avoid miscommunication and maintain confidentiality in internal communications. • Customer Service and Support Platforms: Platforms offering real-time chat support (for instance, online customer service centers) can benefit by reducing errors and facilitating quick corrections, leading to improved customer satisfaction. • Online Education and Telehealth Platforms: Educational institutions and telemedicine services relying on chat-based communication can deploy this feature to ensure that incorrect information or sensitive content can be managed swiftly. • Financial Institutions and Legal Firms: Banks, financial services, and legal entities can use the enhanced messaging control to protect sensitive information, reduce the risk of miscommunication, and maintain regulatory compliance. • Individual Consumers: End users, including everyday messaging app users, benefit from having the ability to retract or correct messages, thereby improving privacy and reducing potential misunderstandings. Overall, this invention caters to a wide variety of sectors by delivering improved control and flexibility in digital communications, making it an attractive enhancement for both service providers and end users.
Estimated Valuation $1,000,000.00
Baharia
Baharia
0 Deals In Queue
Estimated Valuation $1,000,000.00
N/A
( 0 Reviews )
Application Number
16343791
Patent Number
11647109
Applicant
Mohamed Abdelfattah Mohamed Ali Baharia
Country
USA
Industry
Information Technology
Patent Type
Single Patent
Available For
Sale&License

Actions

Complete Specification

Added all portfolio

Country Current Status Patent Application Number Patent Number Applicant / Current Assignee Name Title Google Patent Link
USA Granted 16343791 11647109 Mohamed Abdelfattah Mohamed Ali Baharia System and method for deleting or editing sent messages from your recipients chat history Google patent link
You May Also Llike

You may also like the following patent