THREE-DIMENSIONAL ORAL IMAGING SYSTEM AND METHOD

  • Short Desription

    Abstract/Short Description of Invention

  • Problem Addressed

    Describe The Problem the Invention Addresses in Simple Terms

  • Solution to Solution

    The Invention Namely the Solution to the Problem

  • Prior Art Addressed

    Invention Addressed a Major Gap In Prior Art

  • Unique Features

    Unique Features of Product/Process/Service

  • Commercial & Market View

    Commercial and Market Potential

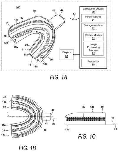
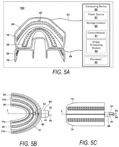
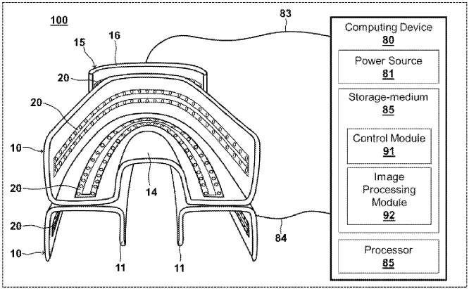
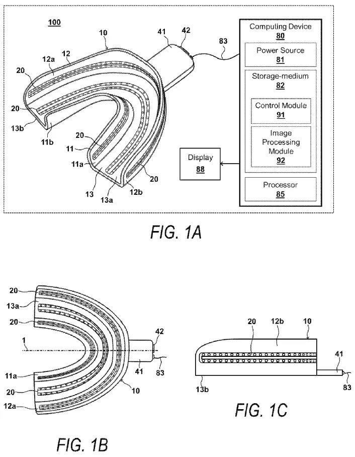
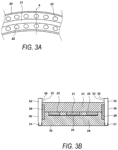
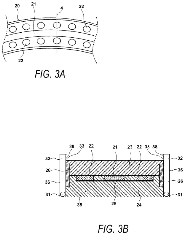
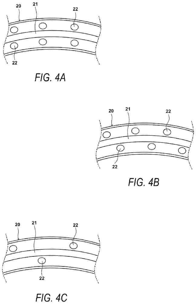
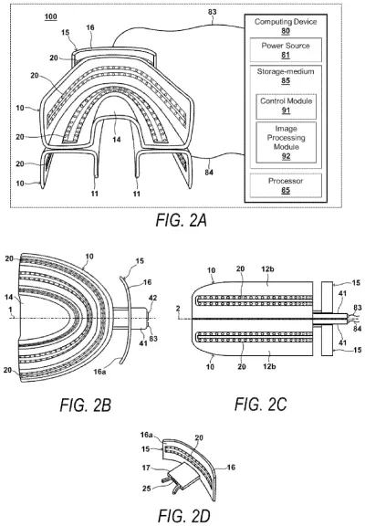
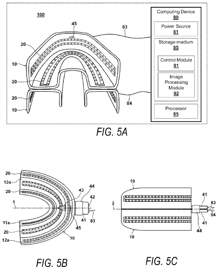
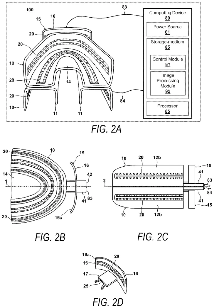
The invention encompasses a fast and accurate methodology and components (embodiments) that capture in-mouth structures and surrounding areas without hindrance, converting them into three-dimensional images that can be easily manipulated on a computer, requiring less computing power and reduced data.

The invention encompasses a fast and accurate methodology and components (embodiments) that capture in-mouth structures and surrounding areas without hindrance, converting them into three-dimensional images that can be easily manipulated on a computer, requiring less computing power and reduced data.

The invention encompasses a fast and accurate methodology and components (embodiments) that capture in-mouth structures and surrounding areas without hindrance, converting them into three-dimensional images that can be easily manipulated on a computer, requiring less computing power and reduced data.

The invention encompasses a fast and accurate methodology and components (embodiments) that capture in-mouth structures and surrounding areas without hindrance, converting them into three-dimensional images that can be easily manipulated on a computer, requiring less computing power and reduced data.

Speedy and accurate scanning without hindrance or oral structures and oral fluids

Industries where the invention can be useful?

Dental Scanning and Digitizing Images Companies

Potential Customers/End Users. Who might benefit?

Dentists, Prosthodontists, Oral Surgeons, Periodontists, Oral Diagnostics,
Estimated Valuation $99,999,999.99
tmarghalani
tmarghalani
0 Deals In Queue
Estimated Valuation $99,999,999.99
N/A
( 0 Reviews )
Application Number
Patent Number
US11382727
Applicant
Thamer Marghalani
Country
USA
Industry
Pharmaceuticals and Biotechnology
Patent Type
Single Patent
Available For
License

Documents

Actions

Complete Specification

Added all portfolio

Country Current Status Patent Application Number Patent Number Applicant / Current Assignee Name Title Google Patent Link
USA Granted US11382727 Thamer Marghalani THREE-DIMENSIONAL ORAL IMAGING SYSTEM AND METHOD Google patent link
Google patent link
Google patent link
You May Also Llike

You may also like the following patent